欢迎光临深圳托普科

托普科实业SMT设备一站式解决方案
全国咨询热线:13510329527
常见问答
西门子贴片机SIPLACE D4i的Y轴技术数据​

西门子贴片机SIPLACE D4i的Y轴技术数据​

2025-07-14

西门子贴片机 SIPLACE D4i 的 Y 轴采用直接驱动的线性马达。这种驱动方式相比传统的驱动方式,具有更高的响应速度和精度。线性马达能够直接将电能转化为直线运动的机械能,减少了中间传动环节带来的能量损耗和机械磨损,从而大大提高了 Y 轴运动的平...

西门子高速贴片机 ASM TX2i 通常多大功率

西门子高速贴片机 ASM TX2i 通常多大功率

2025-07-10

ASM西门子高速贴片机TX2i的功率配置根据是否配备真空泵呈现显著差异,其标准功耗参数与实际应用场景的适配性体现了设备设计的灵活性。以下从技术参数、能耗逻辑及行业应用三个维度展开分析:

SMT中中心偏移的IPCA标准

SMT中中心偏移的IPCA标准

2025-07-09

在表面贴装技术(SMT)中,中心偏移(Component Centering Offset)是指元器件贴装位置与其焊盘设计中心位置之间的偏差。这种偏移可能由多种因素引起,包括设备精度、PCB制造公差、元器件公差等。

asm贴片机吸嘴和feeder是一个东西吗

asm贴片机吸嘴和feeder是一个东西吗

2025-07-08

在 ASM 贴片机中,吸嘴(Nozzle)和 Feeder(送料器)并非同一个东西,它们是贴片机上两个功能完全不同的关键部件,共同协作完成元器件的拾取和贴装过程。

西门子贴片机tx2i气压系统概览

西门子贴片机tx2i气压系统概览

2025-07-07

西门子贴片机 TX2i 的气压系统是保障其稳定、高效运行的关键部分,主要用于为元件拾取、贴装等动作提供动力和压力支持,以下是其气压系统的相关概览:

西门子贴片机D4数字视觉系统检查元件质量

西门子贴片机D4数字视觉系统检查元件质量

2025-07-04

西门子贴片机 D4 数字视觉系统基于计算机视觉技术,通过高分辨率相机采集图像,运用特定算法分析处理,以检查元件质量,可有效检测元件反白、直立及其他不良情况,具有贴装质量高、首次通过率高和降低操作成本等优势。

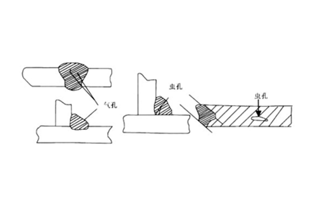
SMT工厂焊接气孔防止方法​

SMT工厂焊接气孔防止方法​

2025-07-03

在 SMT(表面贴装技术)生产过程中,焊接气孔是影响焊接质量和电子产品可靠性的常见问题。气孔不仅会降低焊点的机械强度,还可能影响电气性能,导致产品出现故障。因此,有效防止焊接气孔的产生,对提高 SMT 工厂的生产质量和效率至关重要。托普科小编今天就探...

SMT贴片机主流制造商深度解析

SMT贴片机主流制造商深度解析

2025-07-02

表面贴装技术(SMT)作为现代电子制造的核心工艺,其SMT贴片机性能直接影响产线效率与产品质量。SMT贴片机市场呈现高度集中的竞争格局,头部厂商通过技术创新与生态整合构建壁垒,而中国本土品牌则凭借性价比优势加速国产替代进程。以下从设备类型、技术特点、...

smt生产线工艺流程

smt生产线工艺流程

2025-06-30

SMT(Surface Mount Technology,表面贴装技术)生产线是电子制造中非常关键的环节,主要用于将表面贴装元器件焊接到 PCB(印制电路板)上。以下是 SMT 生产线的典型工艺流程,涵盖从准备到成品的完整过程

西门子贴片机SIPLACE X系列料台车产品介绍

西门子贴片机SIPLACE X系列料台车产品介绍

2025-06-26

西门子贴片机SIPLACE X系列料台车是一款性能卓越且操作简便的模块。配备自动装卸单元,能够轻松、精准地将料台车装入贴片机,确保其在机器中的精确定位。料盘有序存放在料台车的料带容器内,机器中的切割设备可自动完成用过料带的切割工作,整个流程自动化程度...

西门子贴片机TX 2i悬臂系统行程范围和速度监测

西门子贴片机TX 2i悬臂系统行程范围和速度监测

2025-06-25

西门子贴片机 TX 2i 的悬臂系统行程范围和速度监测机制设计精密,结合了硬件与软件的双重防护体系,以确保高速运行下的定位精度和设备安全。以下是基于技术文档和行业实践的详细解析

西门子贴片机TX 传送导轨基板监测和夹紧技术说明​

西门子贴片机TX 传送导轨基板监测和夹紧技术说明​

2025-06-24

西门子贴片机TX 传送导轨中PCB印刷板的识别依赖于光纤传感器,该传感器由发射器、接收器构成的控制单元协同工作。在西门子贴片机TX 传送导轨系统中,每个轨道于输入、PA 和输出部分均配置 3 组光纤传感器